Alterar idioma :

Com o novo separador assimétrico Hi.9, muitos cabos finos agora também podem ser facilmente roteados na cadeia de energia E4Q. Câmaras estreitas podem ser facilmente formadas com a inserção do separador em intervalos de 180°. Ao mesmo tempo, a cadeia eletrônica® também pode ser aberta facilmente em um lado quando muitos separadores são instalados.
Número da peça para a série
Separador assimétrico
Placa intermediária universal
Placa lateral universal
Separador universal
Prateleira de encaixe (X = mm)
E4Q.34 / H4Q.34
34.9
34.21
34.22
34.23
S428_.XXX_
E4Q.44 / H4Q.44
44.9
44.21
44.22
44.23
S428_.XXX_
E4Q.58 / H4Q.58
58.9
58.21
58.22
58.23
S428_.XXX_
E4Q.82 / H4Q.82
82.9
82.21
82.22
82.23
S428_.XXX_

Com o elo de extensão, uma configuração existente da e-chain® é simplesmente estendida para passar um grande número de cabos ou cabos particularmente pesados em uma cadeia de energia.

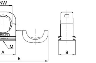
Passe conduítes, cabos ou mangueiras corrugados adicionais paralelamente à corrente eletrônica existente®. Fácil adaptação com a instalação de suportes do sistema PMACLIP. Tamanhos de 17 a 48 mm.

linha de produtos:
Peça nº. TUBO
elo externo direito*
Peça nº. TUB
elo externo esquerdo*
Peça nº. TUB
elo externo de ambos os lados*
Para largura nominal largura nominal
ø [mm]
E4Q.58.XXXTUBR.150.0
E4Q.58.XXXTUBL.150.0
E4Q.58.XXXTUB.150.0
17 / 23 / 29 / 36 / 48
*Vista da extremidade fixa
Nº de peça PMACLIP
largura nominal
[mm]
A
[mm]
B
[mm]
C
[mm]
H
[mm]
E
[mm]
M
[mm]
I-BFH-17-0
17
30
20
34
20
68
M60
I-BFH-23-0
23
38,5
20
42
24
85
M60
I-BFH-29-0
29
45,5
20
56
31
99
M60
I-BFH-36-0
36
55,5
20
56
31
119
M60
I-BFH-48-0
48
67,5
20
68
37
143
M60

As correntes de energia da série E4Q foram desenvolvidas para oferecer a melhor solução possível para viagens longas e sem suporte. Com base no robusto e comprovado padrão de corrente de energia E4.1, a nova linha oferece uma longa vida útil e um alto grau de modularidade.

De segunda a sexta-feira, das 8:00 às 17:00 horas.
Online:
24h